Forbhreathnú
Tá anTástálaí Meáchan Marbh Uathoibríoch Hiodrálachaáirítear giniúint brú agus córas calabraithe, ar féidir leo tomhasairí brú, tarchuradóirí, braiteoirí brú a chalabrú laistigh de 5000bar. Tá sé ceart le haghaidh brú ard le cruinneas ard cosúil le 0.01%, úsáid calabrú 0.005%.


Feidhmchláir
Tá anTástálaí Meáchan Marbh Uathoibríoch Hiodrálachais féidir a úsáid le haghaidh
- Saotharlanna calabrú
- Monaróirí trealaimh eitleonaice/Aeraspáis
- Monaróirí braite brú beachtais
- Cuideachtaí seirbhíse calabrú agus tionscal seirbhíse laistigh de 500MPa
Gnéithe
Loine ardchruinneas
Roghnaítear criadóireacht ard-mhodúil leaisteacha tempered agus cairbíd tungstain mar ábhair loine chun dífhoirmiú an chóimeála loine faoi bhrú ultra- a íoslaghdú, rud a fheabhsaíonn cruinneas go héifeachtach.
Níos lú meáchain
Glacadh le teaglaim de mheáchain mhais dhénártha agus de mheáchain chomhionanna chun an mhais shocraithe a bhaint amach leis an gcainníocht íosta de chomhcheangail meáchain. Úsáidtear cruach dhosmálta neamh-mhaighnéadach mar an t-ábhar meáchain, ag a bhfuil sárfhriotaíocht creimeadh agus friotaíocht caitheamh.
Meáchain luchtaithe uathoibríoch
Glacadh láimhsitheoir aeroibrithe chun meáchan a luchtú/díluchtú go huathoibríoch, trasnaíocht leictreamaighnéadach a sheachaint agus luchtú/díluchtú cobhsaí tapa tapa meáchain a bhfuil an mhais riachtanach acu a chumasú.
Coinníollacha oibre
|
Teocht timpeallachta |
(20)1) céim |
|
Taiseachas coibhneasta |
Teocht tairiseach, RH< 80% |
|
Minicíocht |
50.Hz |
|
Voltas soláthair cumhachta |
AC 220V |
Struchtúr agus Toisí
- PR{0}}ZD06
|
Tionscadal |
Sonraíochtaí |
|
|
Raon tomhais brú |
(0.1-6)MPa |
|
|
Éiginnteacht |
Níos lú ná nó cothrom le 0.005% |
|
|
Meán Oibre |
Cumasc d’ola claochladáin 25# agus ceirisín eitlíochta (cóimheas 4.39:1) |
|
|
Ábhar loine |
Chomhdhúile tungstain |
|
|
Meáchain |
Ábhar |
Cruach dhosmálta neamh-mhaighnéadach |
|
Brú ainmniúil (MPa) |
0.1;0.2;0.4;0.8;1.6;2.8 |
|
|
Mais ainmniúil (kg) |
0.1;0.2;0.4;0.8;1.6;2.8 |
|
|
Cainníocht meáchain |
6 |
|
|
Comhéadan aschuir brú |
3/4-16UNF (inoiriúnaithe) |
|
|
Toisí |
|
|
|
Léaráid scéimreach |
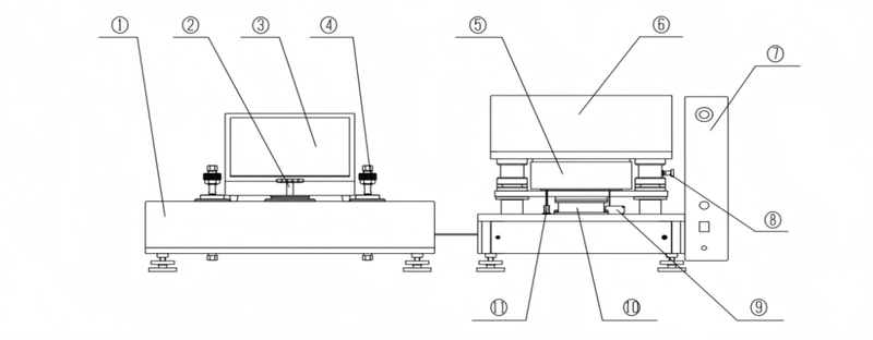
① Córas brú ② Comhla sábháilteachta láimhe ③ Painéal oibríochta soghluaiste ④ Ardán nasctha tomhsaire ⑤ Córas meáchain ⑥ Córas luchtaithe meáchain ⑦ Bosca rialaithe ⑧ Bioráin sábháilteachta ⑨ Brath airde loine ⑩ Córas tiomána rothlaithe meáchain ⑪ Brath luas rothlaithe meáchain |
|
- PR{0}}ZD60
|
Tionscadal |
Sonraíochtaí |
|
|
Raon tomhais brú |
(1-60)MPa |
|
|
Éiginnteacht |
Níos lú ná nó cothrom le 0.005% |
|
|
Meán Oibre |
Diisooctyl sebacate |
|
|
Ábhar loine |
Chomhdhúile tungstain |
|
|
Meáchain |
Ábhar |
Cruach dhosmálta neamh-mhaighnéadach |
|
Brú ainmniúil (MPa) |
1;2;4;8;16;28 |
|
|
Mais ainmniúil (kg) |
1;2;4;8;16;28 |
|
|
Cainníocht meáchain |
6 |
|
|
Comhéadan aschuir brú |
3/4-16UNF (inoiriúnaithe) |
|
|
Toisí |
|
|
|
Léaráid scéimreach |
① Córas brú ② Comhla sábháilteachta láimhe ③ Painéal oibríochta sochorraithe ④ Ardán nasctha tomhsaire ⑤ Córas meáchain ⑥ Córas luchtaithe meáite⑦ Bosca rialaithe ⑧ Bioráin sábháilteachta ⑨ Brath airde loine ⑩ Córas tiomána rothlaithe meáchain ⑪ Brath luas rothlaithe meáchain |
|
- PR{0}}ZD120
|
Múnla |
Sonraíochtaí |
|
|
Raon tomhais brú |
(2~120)MPa |
|
|
Éiginnteacht |
Níos lú ná nó cothrom le 0.005% |
|
|
Meán Oibre |
Diisooctyl sebacate |
|
|
Ábhar loine |
Chomhdhúile tungstain |
|
|
Meáchain |
Ábhar |
Cruach dhosmálta neamh-mhaighnéadach |
|
Brú ainmniúil (MPa) |
0.25;0.5;1;2;4;8;16 |
|
|
Mais ainmniúil (kg) |
0.5;1;2;4;8;16;32 |
|
|
Cainníocht meáchain |
9 |
|
|
Comhéadan aschuir brú |
3/4-16UNF (inoiriúnaithe) |
|
|
Toisí |
|
|
|
Léaráid scéimreach |
① Córas brú ② Comhla sábháilteachta láimhe ③ Painéal oibríochta soghluaiste ④ Ardán ceangail tomhsaire ⑤ Córas meáchain ⑥ Córas luchtaithe meáchain ⑦ Bosca rialaithe ⑧ Córas tiomána rothlaithe meáchain ⑨ Bioráin sábháilteachta |
|
- PR{0}}ZD250
|
Múnla |
Sonraíochtaí |
|
|
Raon tomhais brú |
(5~250)MPa |
|
|
Éiginnteacht |
Níos lú ná nó cothrom le 0.005% |
|
|
Meán Oibre |
Diisooctyl sebacate |
|
|
Ábhar loine |
Chomhdhúile tungstain |
|
|
Meáchain |
Ábhar |
Cruach dhosmálta neamh-mhaighnéadach |
|
Brú ainmniúil (MPa) |
0.25;0.5;1;2;4;8;16 |
|
|
Mais ainmniúil (kg) |
1;2;4;8;16;32;64 |
|
|
Cainníocht meáchain |
9 |
|
|
Comhéadan aschuir brú |
3/4-16UNF (inoiriúnaithe) |
|
|
Toisí |
|
|
|
Léaráid scéimreach |
① Córas brú ② Comhla sábháilteachta láimhe ③ Painéal oibríochta soghluaiste ④ Ardán ceangail tomhsaire ⑤ Córas meáchain ⑥ Córas luchtaithe meáchain ⑦ Bosca rialaithe ⑧ Córas tiomána rothlaithe meáchain ⑨ Bioráin sábháilteachta |
|
- PR{0}}ZD500
|
Múnla |
Sonraíochtaí |
|
|
Raon tomhais brú |
(10~500)MPa |
|
|
Éiginnteacht |
Níos lú ná nó cothrom le 0.005% |
|
|
Meán Oibre |
Diisooctyl sebacate |
|
|
Ábhar loine |
Chomhdhúile tungstain |
|
|
Meáchain |
Ábhar |
Cruach dhosmálta neamh-mhaighnéadach |
|
Brú ainmniúil (MPa) |
0.2;0.4;0.8;1.6;3.2;6.4;12.8;25.6 |
|
|
Mais ainmniúil (kg) |
1;2;4;8;16;32;64;128 |
|
|
Cainníocht meáchain |
10 |
|
|
Snáithe ceangail |
1-1/4-12UNF (inoiriúnaithe) |
|
|
Toisí |
|
|
|
Léaráid scéimreach |
① Córas brú ② Painéal oibríochta soghluaiste ③ Comhla sábháilteachta láimhe ④ Ardán nasctha tomhsaire ⑤ Córas meáchain ⑥ Córas luchtaithe meáite⑦ Bosca rialaithe ⑧ Bioráin sábháilteachta ⑨ Córas tiomána rothlaithe meáchain ⑩ Brath airde loine |
|
Gabhálais
- Príomh Accessories
|
Ainm |
Cainníocht agus múnla |
|
Córas luchtaithe meáchain |
1 sraith |
|
Córas giniúna brú |
1 sraith |
|
Meáchain |
1 sraith (féach an deimhniú calabrúcháin nó taifead calabrú monarchan le haghaidh sonraí) |
|
Córas loine |
1 sraith (i gcás cóimhiotal alúmanaim beag) |
|
Uirlis díchóimeála loine |
1 sraith (3 phíosa) |
|
Feistí faoin mbonn calabraithe tástála |
1 píosa |
|
Corda cumhachta |
1 píosa |
|
Comhbhrúiteoir aeir (caidéal aeir) |
1 sraith |
|
Slat heicsidheachúlach |
1 sraith |
|
Diisooctyl sebacate |
1 buidéal |
|
Sreangán inchoigeartaithe |
1 phíosa (12 orlach, oscailt 34mm) |
|
Lámhleabhar úsáideora |
1 chóip |
|
Deimhniú ceadaithe |
1 chóip |
|
Deimhniú calabrúcháin |
1 chóip |
- Páirteanna Leochaileacha
|
Ainm |
Sonraíochtaí |
Cainníocht |
|
Píobán aeir |
Φ6mm |
10.méadar (saor in aisce) |
|
Crios ulóige |
Φ5 (blianta) |
1 píosa (saor in aisce) |
|
Tomhsaire ag nascadh fáinne séala suíocháin |
Φ12 (OD) × 2.5 (speisialta do 60 agus 250MPa) |
20.píosaí (saor in aisce) |
|
Fáinne séala bun loine |
Φ16 (OD) × 2.5 (speisialta do 60MPa) |
20.píosaí (saor in aisce) |
|
Φ8.6 (OD) × 1.8 (speisialta do 250 agus 500MPa) |
20.píosaí (saor in aisce) |
Caighdeán
- JJG1086-2022 Tástálaí meáchain marbh leachtacha
Toisí iompair le haghaidh Tástálaí Meáchan Marbh Uathoibríoch Hiodrálacha
|
Múnla táirge |
Toisí iompair (fad × leithead × airde mm) |
Meáchan iomlán (kg) |
||
|
Córas giniúna brú (painéal ilchodach adhmaid soladach) |
Córas breisithe meáchain (painéal ilchodach adhmaid soladach) |
Cás meáchain (cás eitlíochta) |
||
|
PR{0}}ZD06 |
580×900×610 |
700×700×930 |
690×450×340 |
180 |
|
PR{0}}ZD60 |
220 |
|||
|
PR{0}}ZD120 |
580×900×610 |
700×700×930 |
800×460×390 |
230 |
|
PR{0}}ZD250 |
230 |
|||
|
PR{0}}ZD500 |
600×970×630 |
700×700×1060 |
850×540×390 |
290 |
Nóta: Gan caidéal folúis agus comhbhrúiteoir beag a áireamh.
Déanaimid ár ndícheall cruinneas an doiciméid seo a chinntiú. Mar sin féin, de bharr forbairtí sa mhargadh agus feabhsuithe táirgí, féadfar ábhar a nuashonrú gan fógra a thabhairt roimh ré. Is le haghaidh tagartha amháin na híomhánna, féadfaidh táirgí iarbhír a bheith éagsúil.
Cur síos ar an táirge ar fáil
Eolas roghnúcháin
Déan teagmháil linn
+8618202956927
sales@creatwit.com
Faisnéis faoi ordú Tástálaí Meáchan Marbh Uathoibríoch Hiodrálacha
|
Múnla |
PR{0}}ZD06 |
PR{0}}ZD60 |
PR{0}}ZD120 |
PR{0}}ZD250 |
PR{0}}ZD500 |
||
|
Trealamh a úsáidtear |
PR60 sraith |
PR60 sraith |
PR250 sraith |
PR250 sraith |
PR500 sraith |
||
|
Raon tomhais brú (MPa) |
0.1~6 |
1~60 |
2~120 |
5~250 |
10~500 |
||
|
eatramh brú íosta (MPa) |
0.1 |
1 |
1 |
1 |
1 |
||
|
Uasteorainn tomhais (MPa) |
6 |
60 |
120 |
250 |
500 |
||
|
Teorainn tomhais níos ísle (MPa) |
0.1 |
1 |
2 |
5 |
10 |
||
|
Cruinneas is airde |
0.005% |
0.005% |
0.005% |
0.005% |
0.005% |
||
|
Limistéar loine ainmniúil (cm2) |
0.5 |
0.1 |
0.05 |
0.025 |
0.02 |
||
|
Ciseán crochta agus loine |
Mais ainmniúil (kg) |
0.5 |
1 |
1 |
1.25 |
2 |
|
|
Brú ainmniúil (MPa) |
0.1 |
1 |
2 |
5 |
10 |
||
|
Meáchan iomlán |
130kg (seachas meáchain) |
140kg (seachas meáchain) |
150kg (seachas meáchain) |
170kg (seachas meáchain) |
|||
|
Meán oibre |
Raon tomhais<25MPa |
Cumasc d’ola claochladáin 25# agus ceirisín eitlíochta (cóimheas 4.39:1). Is é an slaodacht cineamatach 9-12 mm²/s ag 20 céim, agus níl an luach aigéid níos mó ná 0.05 mg KOH/g. |
|||||
|
Raon tomhais Níos mó ná 25MPa nó cothrom le |
Eistir sebacate (diisopentyl sebacate nó diisooctyl sebacate). Is é an slaodacht cineamatach 20-25 mm²/s ag 20 céim, agus níl an luach aigéad níos mó ná 0.05 mg KOH/g. |
||||||
|
Nóta: Tá an trealamh comhdhéanta de chuid meáchain bhreise / bhaint, roinn giniúna brú, agus painéal oibríochta. |
|||||||
Clibeanna Te: tástálaí meáchan marbh uathoibríoch hiodrálach, monaróirí tástálaí meáchan marbh uathoibríoch hiodrálach tSín, soláthraithe, monarcha















