Forbhreathnú
Úsáideann caidéal brú binse hiodrálach CW8400 struchtúr caidéil prim- chun brú cobhsaí a ghiniúint go héasca, a fhorbraítear le haghaidh calabrú tapa ar threalamh brú i saotharlanna chun feistí brú cosúil le tarchuradóirí brú, tomhasairí brú srl a chalabrú.
Gnéithe de Chaidéal Brú Binse Hiodrálacha
Láidir agus durable
Laghdaíonn struchtúr séalaithe optamaithe rioscaí sceite agus cinntíonn sé-cobhsaíocht fhadtéarmach.
Oibríocht Éasca
Cumasaíonn brúnú luamhán agus tiúnadh bíseach giniúint brú éifeachtach gan stró.
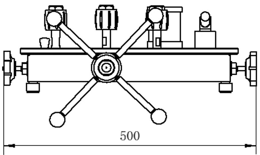
Size


Sonraíochtaí Caidéal Brú Binse Hiodrálacha
| Múnla: | CW8400 |
| Raon: | (0-600/700)barra;(0~1000)barra; (0~1600)barra |
| Meánach: | Ola ag luí le copar, cóimhiotal alúmanaim, cruach dhosmálta (304), rubar bútaidhé-éin (sebacate de ghnáth) / uisce íonaithe |
| Méid: | 500mm × 400mm × 175mm |
| Meáchan: | 15kg |
| Ceangal: | M20*1.5 F |
| Toise: | 500L×400W × 175H mm |
| Meáin: | ola |
Nóta: Le linn -cianiompair, déan iarracht an meán leachtach a fholmhú sa chupán ola.
Gabhálais san áireamh
|
Mír |
Cur síos |
Cainníocht |
|
Lámhleabhar úsáideora |
|
1 ríomhaire |
|
O-fáinne |
IDφ12X2.5 le húsáid snáithe nasctha |
10 ríomhaire |
|
Cás pacála |
Cás iompair crua |
1 ríomhaire |
Cuibheoirí(Roghnach)
Trí úsáid a bhaint as snáithe fireann M20 × 1.5 mar bhunchaighdeán, cuireann siad ar chumas comhshó idir sonraíochtaí éagsúla chun cuibheoirí comhoiriúnacha a chinntiú do gach cineál trealaimh.
|
M20×1.5 go |
M20×1.5 F/M |
G1/2 F/M |
NPT1/2 F/M |
|
M16×1.5 F/M |
G3/8 F/M |
NPT3/8 F/M |
|
|
M14×1.5 F/M |
G1/4 F/M |
NPT1/4 F/M |
|
|
M12×1.25 F/M |
G1/8 F/M |
NPT1/8 F/M |
|
|
M10×1 F/M |
ZG1/2 F/M |
ZG3/8 F/M |
|
|
ZG1/4 F/M |
ZG1/8 F/M |
φ6 Feistiú Deilgneach |
Gabhálais(Roghnach)
|
Míreanna |
Nóta |
Tagairt |
|
Bosca socraithe adapter |
36 píosa adapter |
|
|
Aer{0}}Deighilteoir Leachtach |
Scarann agus scagtar leacht iarmharach agus neamhíonachtaí le linn calabrú brú. |
|
|
CWY300 Calabraitheoir Brú Digiteach |
Raon (-1 ~ 2500) barra Cruinneas 0.02%, 0.05%, 0.1% |
|
|
CWY122 Tomhsaire Digiteach |
Raon (-1 ~ 2500) barra Cruinneas 0.02%, 0.05%, 0.1% |
|
Bharántas: 1 bhliain.
Déanaimid ár ndícheall cruinneas an doiciméid seo a chinntiú. Mar sin féin, de bharr forbairtí sa mhargadh agus feabhsuithe táirgí, féadfar ábhar a nuashonrú gan fógra a thabhairt roimh ré. Is le haghaidh tagartha amháin na híomhánna, féadfaidh táirgí iarbhír a bheith éagsúil.
Íosluchtaigh
Cur síos ar an táirge ar fáil
Eolas roghnúcháin
Déan teagmháil linn
+8618202956927
sales@creatwit.com
| Múnla: | CW8400 |
| Raon: | (0-600/700)barra;(0~1000)barra; (0~1600)barra |
| Meánach: | Ola ag luí le copar, cóimhiotal alúmanaim, cruach dhosmálta (304), rubar bútaidhé-éin (sebacate de ghnáth) / uisce íonaithe |
| Méid: | 500mm × 400mm × 175mm |
| Meáchan: | 15kg |
| Ceangal: | M20*1.5 F |
| Toise: | 500L×400W × 175H mm |
| Meáin: | ola |
Nóta: Le linn -cianiompair, déan iarracht an meán leachtach a fholmhú sa chupán ola.
-
C: Inár gcomhdú ola, tá an tomhsaire salach, an gcuirfear bac ar an gcaidéal?
A: Níl, tá ár gcaidéal deartha le córas scagacháin agus draenála. De réir na dtreoracha, cuirfidh glanadh agus cothabháil tráthúil cosc ar shaincheisteanna clogála go ginearálta. Fiú amháin go bhfuil sé bac, is féidir linn cothabháil ciantreoraithe a dhéanamh, atá éasca.
-
C: Cad é an tréimhse bharántas? Cad iad na míreanna nach bhfuil clúdaithe?
A: Clúdaíonn an bharántas bliain amháin. Ní chlúdaítear-damáiste spreagtha ag an duine, ach ní dhéanfar ach an costas ábhartha a aisíoc má tá sé thar bharántas.
Clibeanna Te: caidéal brú binse hiodrálacha, monaróirí caidéil brú binse hiodrálacha tSín, soláthraithe, monarcha










